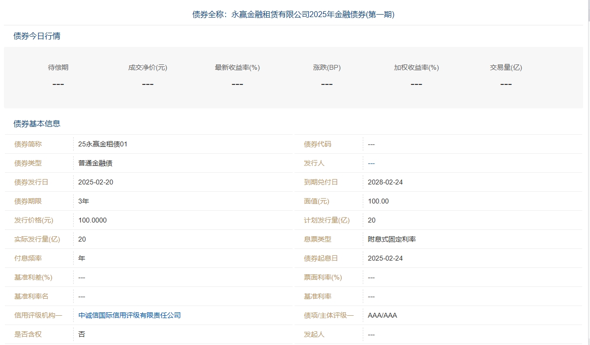
财联社2月20日讯(记者 邹俊涛)2月20日,永赢金融租赁有限公司(以下简称“永赢金租”)在全国银行间债券市场发行普通金融债“25永赢金租债01”,规模为人民币20亿元。

财联社记者注意到,这是金租行业在蛇年发行的首笔金融债,其票面年利率的申购区间下限降至1.60%。
此外,今年1月初,建信金租、海晟金租、徽银金租、江苏金租、浦银金租等多家金租公司密集发行金融债。据中国货币网披露数据统计,截止目前,已有6家金租公司累计实际发行金融债规模达到100亿元,较去年同期行业发债有所提速。
受访业内人士认为,低利率市场环境激发金租公司发债融资热情,多为优化资产负债结构。
发债融资为“优化负债结构”
据了解,永赢金租此前曾发行过多笔金融债。此次发行前,永赢金租已分别于2019年3月13日、2020年2月25日、2023年12月15日以及2024年2月28日、4月24日、6月13日、11月19日发行了金融债券,合计发行规模达150亿元。
其中,2019年和2020年发行两笔金融债合计30亿元已经到期,另外在2023年发行15亿元规模金融债也将于明年12月到期。
永赢金租表示,公司目前负债以1年期及以内的同业借款为主,但投放租赁项目期限普遍为3-5年,存在一定的期限错配风险。此次发行“25永赢金租债01”的募集资金用途主要用于置换到期债务,优化负债结构。
华南某券商分析师向财联社记者表示,金融租赁公司作为非银金融机构,无存款等负债端管理手段,融资主要依赖同业借款、同业拆借和债券融资等。
“部分金融租赁公司存在资产负债错配的问题,即资产端期限较长,而负债端期限较短。这可能导致公司面临短期负债到期时,需要重新融资来偿还债务,增加了负债不确定性。”上述人士表示,金租公司发行金融债以3年期为主,用于补充中长期稳定资金,改善期限错配。
财联社记者注意到,此前建信金租、海晟金融租等在今年年初发行金融债也均有提到募集资金以优化资产负债结构。
低利率环境激发金租发债融资热情
此外,财联社记者注意到,当前金租行业金融债发行成本仍处于历史低位。
今年1月初,建信金租发行最新一轮金融债发行利率已降至1.7%以下,江苏金租、浦银金租等金融债发行利率也均已降至1.75%。
截止发稿,永赢金租尚未公布此次金融债发行票面利率。根据官方披露文件,经发行人与主承销商协商确定,本期债券票面年利率的申购区间为1.60%至2.10%。
据大公国际统计,去年1月至11月,金租公司发行3年期信用债加权平均利率为2.33%,较2023年全年的加权平均利率下降0.61个百分点。该机构预计,2025年金融租赁公司的融资渠道仍保持多元畅通,在低利率市场环境下,金融租赁公司将继续探索中长期融资渠道。
前述业内人士也向财联社记者表示,在利率持续走低及“资产荒”加剧的背景下,近年来金租公司债券融资成本明显下降。
313啦实用网





