“ 吉林亿联银行再迎来一位副行长,腾讯金融科技高级总监简锐加盟。2024年前三季度,亿联银行净利润大跌8成,而且与二股东美团正在加速‘脱钩’。”
近日,东北首家民营银行吉林亿联银行再迎来一位副行长,吉林金融监管局核准了简锐的亿联银行副行长的任职资格。
简锐曾任腾讯金融科技高级总监、平安陆金所华南区副总经理,并曾在交通银行、渣打银行、招商银行等多家银行任职。
2024年底,三湘银行原副行长王国涛也加盟亿联银行,王国涛此前曾任网商银行行业一部总经理。
2024年9月,蒋永军正式担任行长后,亿联银行已经迎来多位新高管。
而这家民营银行大股东的危机,也一直受到市场关注。

01
去年前三季度利润暴跌8成
吉林亿联银行是东北首家民营银行,也是仅有的四家获准在全国范围内开展存贷款业务的互联网银行之一。2017年5月,亿联银行由中发实业集团旗下中发金控投资管理有限公司、美团旗下吉林三快科技有限公司等七家民营企业联合在长春发起成立,注册资本30亿元,其中中发金控持股30%,吉林三快持股28.5%。
在微众银行、网商银行、新网银行与亿联银行4家互联网银行中,背后都有着互联网流量平台支持,微众银行依托腾讯,网商银行依托阿里,新网银行背后有小米,亿联银行主要是美团的流量加持。
不过有着第二大股东美团的巨大流量,亿联银行的经营业绩并不能让市场满意。
如今微众银行总资产已经突破5000亿,网商银行也超过4500亿,新网银行也已经超过1000亿,而亿联银行总资产到2024年三季度末仅为542.6亿。在19家民营银行中,也仅仅是中游水平。
2023年,新网银行营业收入54.89亿,净利润10.1亿,而亿联银行营收为10.65亿,净利润1.4亿。

备注:裕民银行为2022年底数据,其余为2023年底数据
2024年亿联银行的情况,可能更不如人意。
2024年三季报显示,前三季度营业收入8.93亿,下降了11.76%,净利润1418.7万,更是暴跌80.43%。
存贷款余额也比2023年底有了不同程度下降,其中到2024年三季度末,贷款余额297.5亿,比2023年底减少了38.52亿,存款余额280.1亿,比2023年底减少了45.57亿。
对于民营银行来说,存贷款业务是根基,2023年亿联银行利息净收入8.73亿,占全部营收的81.97%。贷款和存款缩减将直接影响经营效益。
不仅如此,2024年三季度末,亿联银行不良贷款率为1.77%,比2023年底增加了0.16个百分点,增幅9.94%。


亿联银行贷款产品主要有针对个人的亿贷、针对小微企业的亿商贷、针对农户的亿农贷,以及依靠美团等渠道的亿联易贷。个人消费贷款是主力,2024年三季度末,个人消费贷款余额208.28亿,占比70%,小微企业贷款余额61.89亿,占比20.8%。
此前有媒体称,之所以贷款规模下降,是亿联银行主动选择的结果。因为亿联银行在东北地区做小微贷款所占比重比较高,经济形势不好,而消费金融,由于助贷价格不合算,成本和利润倒挂,所以也不怎么做了。
不过亿联银行遭遇的困境,与大股东中发实业集团当前遭遇的困境或许不无关系。
02
大股东中发集团踩雷
2024年11月,亿联银行大股东中发金控投资管理有限公司改名为吉林晟卓投资有限公司持股,其大股东西藏中发实业有限公司也改名为西藏铭盛科技有限公司,不过穿透后实际控制人仍然为中发实业集团老板戴浩。
不仅如此,中发实业(集团)有限公司的名字在今年2月都已经改成了北京宸瑜企业管理有限公司。
而之所以规避“中发集团”的名头,是因为中发集团目前已经陷入经营危机,成了失信被执行人。根据监管要求,民营银行大股东必须正常经营和盈利。

中发集团成立于1997年,2021年集团总资产达2200亿,连续12年入选“民营企业500强”,旗下有合众人寿、永泰地产等。中发集团实际控制人戴浩同时兼任合众人寿与亿联银行董事长职位。
中发集团陷入危机,主要是踩雷恒大集团和宝能集团,累计将近200亿,其中涉及恒大集团100多亿。
由于巨额亏损,中发集团目前诉讼缠身,企查查显示,目前中发集团涉诉案件90件,被执行总金额67.74亿。

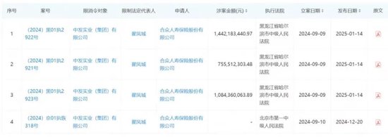
今年1月14日,黑龙江哈尔滨中院一口气发布了3份限制消费令,对象是中发集团,而申请人竟然是旗下的合众人寿,三份限消令涉及金额分别为14.42亿、7.56亿、10.84亿,合计为32.82亿。

1月17日,哈尔滨中院又发布了三份终本案件,上述三起民事诉讼被列为终本案件。
所谓终本案件,是指法院的执行案件,由于被执行人没有可供执行的财产,而裁定终结本次执行程序。
03
与二股东美团加速“脱钩”
近年来,亿联银行行长更换频繁,成立8年,换了4个行长,首任行长为光大银行信用卡中心总经理戴兵、第二任为哈尔滨银行原行长张其广、第三任行长为广发银行零售银行首席风险官王玉海,第四任行长就是现任的蒋永军。蒋永军曾是平安银行信用卡中心副总裁,具有30余年的银行工作经历。
关键岗位的风险总监也换了3个人。
蒋永军上任后,提出了2025年的转型方向,强化银行自身的业务能力,打造与众不同的普惠金融产品,提升客户体验。
简锐在腾讯金融科技的经验可推动智能风控、精准营销等技术的应用。
目前亿联银行高管团队,除了董事长戴浩、行长蒋永军,还有执行董事兼常务副行长王心睿、执行董事兼副行长戴艺(戴浩的妹妹),行长助理李树峰、副行长王国涛等。
不仅如此,中发集团与二股东美团之间经营理念也早就出现了分歧,从原来主要依靠美团导流,逐渐降低了合作比重。亿联银行合作机构名单显示,除了美团小贷,还有大树科技、泛华集团、时光金科、万达小贷、小花钱包、全民钱包等。
不仅如此,中发集团与二股东美团之间经营理念也早就出现了分歧,从原来主要依靠美团导流,逐渐降低了合作比重。亿联银行合作机构名单显示,除了美团小贷,还有大树科技、泛华集团、时光金科、万达小贷、小花钱包、全民钱包等。
亿联银行2024年前三季度,亿联银行与美团旗下重庆美团三快小额贷款有限公司发生12笔重大关联交易,支付平台服务费2491万元,2023年前三季度,这一数字为8552.98万。
比前几年相比,这一数字大幅度减少。2020年至2023年,这一数字分别为4.54亿、4.88亿、2.05亿和1.09亿元。

由此可见,亿联银行与美团“脱钩”之迅速。
亿联银行一手好牌,有全国范围经营的线上银行牌照,又有二股东美团的巨大流量,最后没得到一个更好的结果,不得不让人唏嘘。
313啦实用网






