4月15日,上证指数早盘震荡走低,午后持续走低,尾盘有所回升;深证成指、科创50指数全天震荡走低;创业板指早盘一度上扬,随后回落走低,午后低位窄幅震荡。截至收盘,上证指数报3267.66点,涨0.15%,成交额4563.33亿元;深证成指报9858.10点,跌0.27%,成交额6208.61亿元;创业板指报1930.40点,跌0.13%,成交额2737.43亿元;科创50指数报1006.34点,跌0.78%,成交额788.94亿元。沪深两市合计成交10771.94亿元,成交额较上一交易日减少2002.79亿元。
美容护理、银行等行业走强 泰慕士、ST宇顺等均连收4个涨停板
盘面上来看,行业板块、概念跌多涨少。其中,美容护理、银行、家电、纺织服装、传媒、公用事业等行业涨幅靠前;盲盒经济、谷子经济、抗菌面料、化妆品、环氧丙烷、网络游戏等概念走势活跃。国防军工、商贸零售、电子、钢铁、房地产、计算机、交通运输、有色金属等行业跌幅居前;免税、转基因、彩票、水产养殖、统一大市场、可控核聚变、低碳冶金、发电机、通用航空等概念走势较弱。涨停个股主要集中在化工、纺织服装、公用事业、建筑装饰、医药生物等行业。
个股涨跌情况,截至收盘,沪深两市合计2314只个股上涨,2657只个股下跌,平盘个股155只,停牌的个股19只。不含当日上市新股,共有80只个股涨停,12只个股跌停。
涨停股中,从收盘涨停板封单量来看,天沃科技(002564)最受追捧,收盘涨停板封单有4682.62万股;其次是西王食品(000639)、有研新材(600206)、新金路(000510)、岭南股份(002717)、建投能源(000600)、大胜达(603687)等,涨停板封单分别有3943.69万股、3062.14万股、2810.78万股、2210.84万股、1637.77万股、1461.3万股。
以涨停板封单金额计算,10股封单金额超1亿元。其中,有研新材涨停板封单资金最多,涨停板封单资金为5.37亿元;其次是天沃科技、新金路、北自科技、西王食品、赣能股份(000899)、南方精工等,涨停板封单资金分别为2.06亿元、1.43亿元、1.43亿元、1.25亿元、1.22亿元、1.08亿元。

涨停股中,从连续涨停天数来看,连续涨停天数大于或等于2天的个股有24只,其中,泰慕士、ST宇顺、ST摩登、ST曙光、ST柯利达(603828)、*ST通脉、*ST信通均连收4个涨停板,连续涨停板数量最多;其次是新金路、两面针(600249)、ST三圣、ST中嘉均3连板;韶能股份(000601)、京粮控股(000505)、天沃科技、乐山电力(600644)、中毅达、双成药业(002693)、国光连锁等13股均2连板。
沪深两市主力资金净流出207.02亿元 8个行业主力资金呈现净流入
Wind统计显示,沪深两市主力资金今日净流出207.02亿元。其中,创业板主力资金净流出38.14亿元,沪深300成份股主力资金净流出64.51亿元,科创板主力资金净流出10.4亿元。
从行业来看,申万所属的31个一级行业,今日有8个行业主力资金呈现净流入,其中,传媒行业主力资金净流入最多,净流入金额为9.33亿元;行业主力资金净流入居前的还有美容护理、银行、家用电器等,净流入金额分别为2.54亿元、2.17亿元、2.11亿元。23个行业主力资金呈现净流出,其中,电子行业主力资金净流出最多,净流出金额为40.36亿元;行业主力资金净流出靠前的还有计算机、商贸零售、有色金属、国防军工、非银金融等,净流出金额分别为29.7亿元、20.06亿元、18.02亿元、17.47亿元、14.5亿元。
尾盘主力资金净流入来看,有19个行业获尾盘主力资金净流入,其中,电力设备行业尾盘主力资金净流入最多,净流入金额为3.47亿元;其次是电子、机械设备、公用事业、传媒、化工、医药生物、汽车等行业,尾盘主力资金净流入均超1亿元。

30股获主力资金净流入超亿元 尾盘主力资金抢筹宁德时代(300750)等
个股来看,今日有1932只个股获主力资金净流入,其中,30股获主力资金净流入超1亿元。胜宏科技(300476)主力资金净流入最多,净流入金额为5.04亿元;主力资金净流入居前的个股还有红宝丽(002165)、农业银行(601288)、信凯科技、宁德时代、岭南股份等,净流入金额分别为4.3亿元、3.47亿元、2.98亿元、2.78亿元、2.48亿元。
尾盘主力资金净流入来看,有20股获尾盘主力资金净流入超3000万元,其中,宁德时代尾盘主力资金净流入最多,净流入金额为1.19亿元;其次是新亚电缆、农业银行、新易盛(300502)、圣邦股份(300661)、探路者(300005)等,尾盘主力资金净流入分别为1.11亿元、6696.44万元、6276.92万元、6261.11万元、5019.86万元。

70股被主力资金净卖出超亿元
今日有3188只个股被主力资金净卖出,其中,70股被主力资金净卖出超1亿元。主力资金净流出最多的个股是万华化学(600309),净流出金额为8.2亿元;主力资金净流出居前的个股还有立讯精密(002475)、中国长城(000066)、连云港(601008)、中国中免、南宁百货(600712)等,净流出金额分别为7亿元、5.68亿元、3.2亿元、3.04亿元、2.8亿元。
尾盘主力资金净卖出来看,有18股被尾盘主力资金净卖出超2000万元,其中,尾盘主力资金净流出最多的个股是国芳集团(601086),净流出金额为3844.31万元;其次是连云港、新莱应材(300260)、孩子王、兴业银行(601166)、中信证券(600030)等,尾盘主力资金净流出均超3000万元。

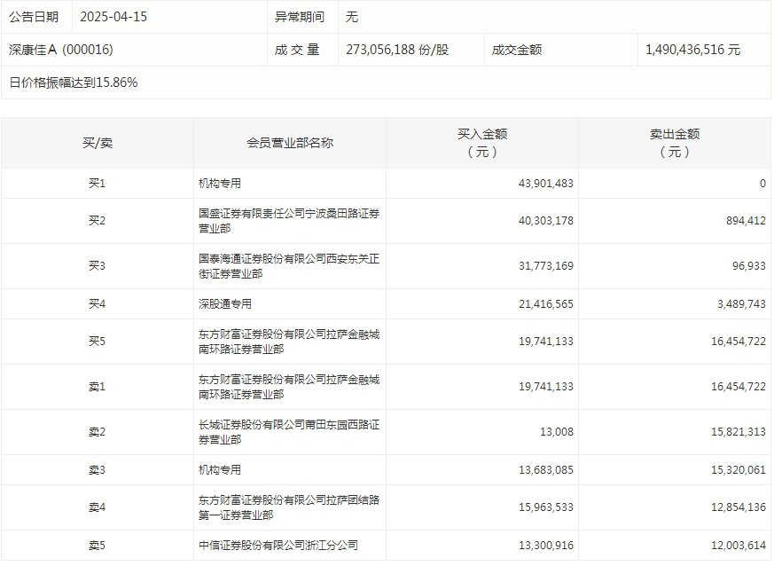
龙虎榜机构净买入4股 深康佳A居首
盘后龙虎榜数据显示,今日机构席位资金合计净卖出约4.74亿元。其中,净买入的个股4只,净卖出的个股23只。机构净买入最多的股票是深康佳A,净买入金额约4226.45万元;机构净买入居前的还有南方精工、仁智股份等。机构净卖出最多的股票是北部湾港(000582),净卖出金额约1.04亿元;机构净卖出居前的还有邵阳液压、红宝丽、富岭股份等。

深康佳A今天涨7.58%。盘后数据显示,2家机构出现在龙虎榜单上,合计净买入4226.45万元;国盛证券有限责任公司宁波桑田路证券营业部买入4030.32万元,同时卖出89.44万元;中信证券股份有限公司浙江分公司买入1330.09万元,同时卖出1200.36万元。

313啦实用网






