专题:专题:释永信涉嫌刑事犯罪被调查,目前为三家公司法人代表
(来源:金石杂谈)
7月27日,昨夜今晨,一则关于少林寺方丈释永信被带走调查的消息刷屏社区网络。其个人公众号更新停止在周四(7月24日),此前都是日更。

第一时间,有媒体致电少林寺外联负责人郑老师求证时,电话被瞬间挂断。再拨打,对方称近日没看到他,等官方消息。
7月27日上午更是传出释永信大瓜。对此,平安开封回应:通报是假的,目前正在开展工作。
到了晚上,真相逐渐浮出水面,少林寺官微通报:少林寺住持释永信涉嫌刑事犯罪,挪用侵占项目资金寺院资产;严重违反佛教戒律,长期与多名女性保持不正当关系并育有私生子。目前正在接受多部门联合调查。有关情况将及时向社会公布。

从通报中可以看出,释永信主要两宗罪:一是职务侵占、刑事犯罪;二是长期与多名女性保持不正当关系。
此时,大家应该会想到2015年,少林弟子释正义曾发文《释永信被实名举报,方丈这只大老虎谁来监督?》;彼时,少林寺回应:太恶心,已报案。不得不说,“因果好轮回,苍天饶过谁”。10年后,释永信的罪行终于浮出水面。

记得上一次有少林寺方丈查出问题(幽默一下),还是在遥远的公元1200年前后,至今已有800年历史。

就在刚刚,鸠摩智的扮演着李国麟老师进行了回应:我不是预言家,不关我事啊!

少林寺始建于公元495年,距今已足足有1500多年,当时,北魏孝文帝为了安顿远道而来的印度僧人跋陀落迹传教,特意在嵩山南麓少室山的茂密丛林中,敕建了这座寺庙。
由于跋陀来自西域,所以少林寺最初被称为 “西域寺”,后来因寺庙所处位置树木郁郁葱葱,得名“少林寺”。
根据天眼查,释永信,男,1965出生,俗名刘应成,自号皖颍上人,安徽省阜阳市颍上县人。其在个人公众号号称是“当代佛教走向世界的开拓者”。
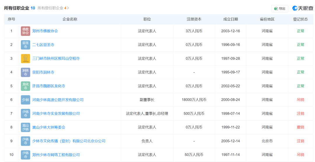
1981年,释永信前往少林寺出家,并拜方丈行正长老为师。1986年,成立少林寺拳法研究会。次年,行正长老圆寂,释永信担任少林寺管委会主任,主持寺院事务;
不得不说,释永信可谓佛家中的经商天才。89年武僧拳成立;1996年紧跟互联网大潮,成立少林寺网;1998年,河南无形资产管理有限公司(少林寺运营主体)成立,开始了商业化;1999年,释永信升为方丈。
随着少林寺资管成立,少林寺的商业化一发不可收拾,少林寺商业版图涉足出版、演出、电子商务、食品、香堂、武器、医药、文化等各行各业。

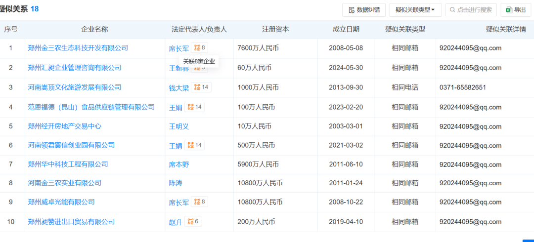
根据天眼查,少林寺的经营主体:少林寺无形资产管理有限公司(前期释永信持股80%,目前有嵩山少林寺100%持股),疑似关联18家实体,有展览、有住房运营、有通信、有文化、有茶叶、有商贸、有食品、有进出口贸易、有文化旅游、有房地产等等。

此前的实控人一直是释永信,但到了2010年释永信就退居幕后,将释永福推至前台。据公开消息,释永福与释永信同为少林寺僧人,属师兄弟关系,且存在职务上的上下级分工。释永信为少林寺方丈,释永福长期担任首座并参与寺院商业资产管理。

据市场消息,释永信以及他所控制的少林寺商业化运营的如鱼得水。2002年成立的少林书局,不仅出版《少林功夫史》等学术著作,更推出《少林武功入门》等通俗读物,年发行量最高达50万册;
2003年拍摄《少林寺传奇》,版权费虽然只有38万,但是,仅2010-2020年,与之相关的周边收入累计超2亿元;
2005年与凤凰卫视合作拍摄纪录片《百年少林》,以影像化方式强化IP认知,相关光盘销售额突破千万元;
2003年重启的少林药局,在传统秘方基础上开发出活络膏、少林灵芝茶等产品,单价从几十元到上千元不等,2019年销售额突破8000万元;
还有景区收入,据嵩山旅游部门数据,2017年景区门票收入3.5亿元,而衍生体验项目收入超1.2亿元,占比近三分之一。
此外,释永信推动景区升级,从单一参观拓展为“观光+体验”模式:游客可付费参与“一日禅修”(200元/人)、武术体验课(500元/小时),甚至定制“少林文化研学之旅”(3天2晚套餐价3800元)。2019年游客量峰值达420万人次,按人均消费300元计算,旅游相关总收入超12亿元。
2008年,释永信还上线的淘宝店“少林欢喜地”,初期仅售卖佛珠、禅修垫等用品,2015年转型为“文化生活品牌”,推出禅意香薰、少林主题文创,年销售额从百万元级跃升至2020年的2300万元。
最为著名的则是,22年少林寺郑州拿地,当年4月,河南铁嵩数字科技有限公司以4.52亿元竞得郑州一块商业用地,而该公司股东中,少林资管间接持股10%。不过,后来在争议声中退出,市场估计如果不退出潜在收益高达10亿元。
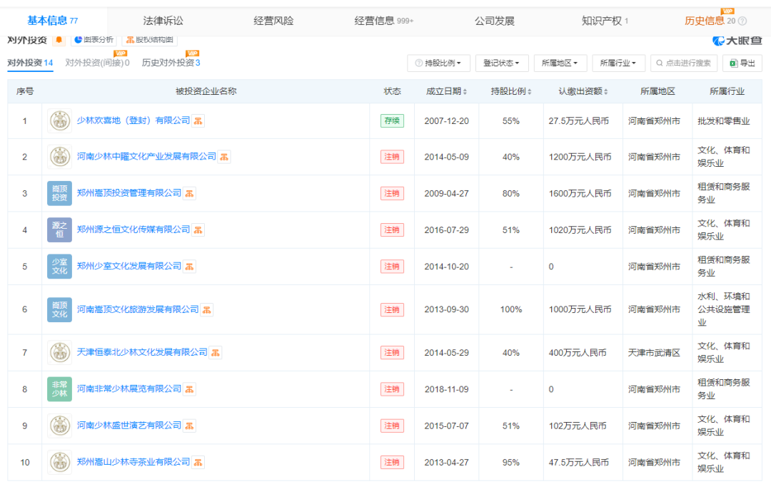
不过,不知道何时,少林寺的相关产业纷纷注销,文化旅游、投资管理、展览、零售、茶叶、体验营、香堂,几乎所有的业务都不做了。

根据天眼查,释永信目前担任法人的企业有5家。截至目前,释永信的企业版图有2家被吊销、2家注销、1家撤销,彼时的释永信一度还要染指高速公路和网络工程。

不过,虽然大家都知道释永信很有钱,但是释永信自己并不知道。目前来说,少林寺门票80元,即使按每年400万人流量,每年的收入都在3亿级别。
看到一张网图,说是少林寺收入确实是3亿左右,利润1个亿,游客量800万;而峨眉山、九华山、灵隐寺、五台山都超过了少林寺收入。

但是,身为方丈的少林寺曾在2011年透露过他的工资,那就是一月700元。

但是,与他工资形成鲜明对比的是,网上则流传着,他“佩戴名表”“乘坐豪车”(少林寺回应称车辆为景区统一调配)、“袈裟价值16万元”(实为特殊工艺定制,用于重要佛事)。
2015年,少林寺弟子举报他和多名女子有不正当关系,且育有多个子女;而且举报他其“侵占香火收入”。不过,当时均被少林寺否认了。
随着释永信落马,评论区直接炸锅了。炸锅不是为少林寺惋惜,而是都争着抢着要去买峨眉山。有股民表示,“释永信被查,少林寺危了,利好峨眉派,明天竞价梭哈,在我A这逻辑没问题”。

还有股民直接用AI大模型梳理出了与道教相关的上市公司(仅供娱乐):1)文化与旅游产业,峨眉山、黄山旅游等。

2)中医产业:白云山、片仔癀、云南白药、同仁堂、寿仙谷;3)文化创意与数字传播:吉比特、光线传媒等;4)非遗重要瑰宝:广誉远(维权)、太极集团。


4)甚至有文艺玩家说要炒:永信至诚,双飞股份。
本文部分内容综合自栗滴财经,以上概念股仅供娱乐,由此造成的投资损失,请自行承担。
313啦实用网






