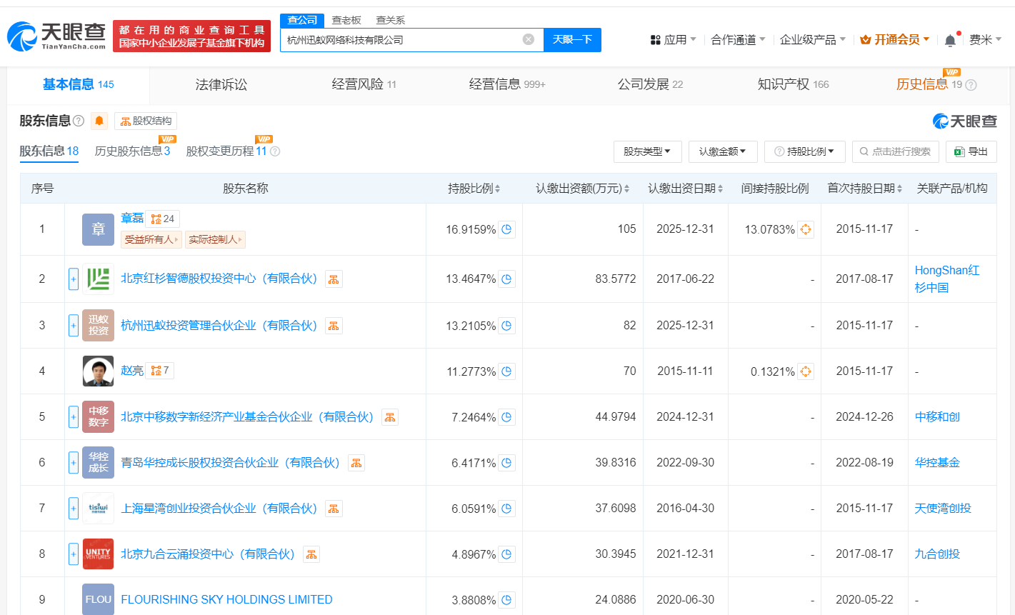
南方财经12月30日电,天眼查App显示,近日,杭州迅蚁网络科技有限公司发生工商变更,新增中国移动旗下北京中移数字新经济产业基金合伙企业(有限合伙)为股东,同时注册资本由约575.7万人民币增至约620.7万人民币。杭州迅蚁网络科技有限公司成立于2015年11月,法定代表人为章磊,经营范围含通用航空服务、食品销售、物联网技术研发、计算机软硬件及辅助设备批发、软件开发、互联网销售等,由章磊、北京红杉智德股权投资中心(有限合伙)等及上述新增股东共同持股。官网显示,该公司致力于构建城市空中无人机运行网络。




313啦实用网






