
晨鸣纸业去年预亏75亿,约5成产能仍未恢复,有分析称,“复产进度每延迟一个月,现金流缺口将扩大3亿”。
曾经受人追捧的“纸茅”,危机加剧。
从2月21日至今,ST晨鸣(000488.SZ)已连续5天跌停,最新股价为2.02元/股,市值不足60亿;其港股股价更是跌至0.6港元/股。
“出逃”无方,面值退市阴影笼罩,逾13万股民欲哭无泪。
引发这一波危机的直接原因,是晨鸣纸业于2月19日发布公告称,因三个月前超七成停产产能仅恢复两成多,触发深交所“生产经营严重受阻”ST条款,其A股将被“ST”。随后,该股还被调出港股通名单。

三个月前,晨鸣纸业突发资金危机,公告18.2亿的债务逾期,并宣布涉及七成产能的生产线临时停产以对。
可以看到的是,晨鸣纸业如今仍有约五成产能未恢复。摩根士丹利的报告称,“复产进度每延迟一个月,现金流缺口将扩大3亿元”。
截至去年三季度,晨鸣纸业身上背负的债务逾550亿,复产缓慢背后,这家纸业巨头如坐火山口上。
后面的雷,不知道还要爆几个。
危机接踵而至
不过三个月时间,晨鸣纸业的资金状况,似乎急速恶化。
去年11月19日,晨鸣纸业发布公告,称公司及子公司累计逾期的债务本息金额达18.2亿元,公司为子公司相关融资提供连带责任保证担保,对应逾期金额为5.74亿元。
为了减少亏损,从当月开始,其寿光、湛江、江西、吉林几个基地部分生产线已经停产,涉及七成产能。
自曝资金危机背后,晨鸣纸业早就麻烦缠身。
当时,由于商票逾期、欠款纠纷等,晨鸣纸业及其子公司的银行账户,已经被冻结了65个,涉及6400多万元。
但晨鸣纸业的一些投资者,并不觉得有多危险。毕竟其去年前三季营收仍有近200亿,账上的货币资金超百亿,更何况,还有寿光国资这个大股东在后面撑着。
晨鸣纸业大股东为晨鸣控股,背后实际控制人为寿光市地方金融监督管理局。资金危机爆出一周后,晨鸣纸业的老员工、阳光纸业创始人王东兴,作为晨鸣控股的新董事长亮相。
未经证实的传闻称,王东兴是在寿光国资推动下,重回晨鸣纸业执掌大局。王东兴亮相次日,晨鸣纸业股价迎来大涨。
但两个月后,又有一个“雷”爆了。
今年1月23日,晨鸣纸业发布业绩预告称,2024年预计亏损65亿-75亿元,相较2023年,一下子扩大了4倍多,市场一片哗然。
晨鸣纸业在公告中称,称金融机构成立了省级债委会,初步约定暂时不抽贷、不压贷,到期业务应续尽续,并研究给予展期、降息、延长结息周期等支持。
公告传递出积极信息,但晨鸣纸业的情况仍在恶化。
截至1月23日,晨鸣纸业及控股子公司因债务逾期、合同履行纠纷等原因,一年内已累计发生诉讼、仲裁164件,涉案金额为26.38亿元。
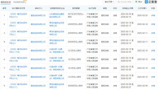
企查查信息显示,今年2月以来,晨鸣纸业新增多条股权冻结信息,涉及黄冈晨鸣浆纸有限公司、山东晨鸣集团财务有限公司以及济南晨鸣纸业销售有限公司等,冻结金额超过65亿元,冻结期限为三年。

此外,大股东晨鸣控股近50%的股份已被质押,而这些被质押股份,已经有近95%的比例被限售和冻结。
晨鸣纸业的融资渠道进一步缩窄,1月份所称的金融机构的各种支持,也似乎并未到位。
截至去年三季度末,晨鸣纸业总负债为552.75亿元,其中短期借款为299.91亿元。
数百亿债务压顶,停产将加剧产销下滑困局,晨鸣纸业的资金危机,愈演愈烈。
“纸茅”何以至此?
一度被誉为“纸茅”的晨鸣纸业,是国内第一家同时在A股、B股和H股上市的公司,直至资金危机爆发前,市场份额都排在前五,巨头光环仍未散去。
自2000年A股上市以来,晨鸣纸业近两年才出现亏损。对于突然出现的巨亏,晨鸣纸业首先将原因归结于行业短期供需矛盾突出。
多年来,晨鸣纸业的一大收入支柱来自白卡纸,而从2021年开始,白卡纸价格断崖式下滑,而行业产能仍在持续增加,晨鸣纸业确实深受其害。
但众所周知,造纸本就是周期性行业,除了晨鸣纸业,同行们都受到近年周期波动影响。
2022年,太阳纸业、山鹰国际、博汇纸业等行业龙头,营收也都出现下滑,但2023年,晨鸣纸业开始亏损,而几大龙头业绩好转,仍在盈利。
以太阳纸业为例,2022年利润同比下滑,但仍有28亿,2023年增长至30亿,去年前三季度盈利更是同比增长逾15%。
之所以拿太阳纸业作比,是因为这家公司同样历史悠久,但多年来专注造纸行业。而反观晨鸣纸业,2012年开始多元化经营。
对于跨界,时任董事长陈洪国曾表示,“跨界没有那么可怕,为什么不敢”,“既然能把造纸这个产业做好,也能把其他产业做好,其实打法都差不多”。
掌舵者的信心加持之下,晨鸣纸业开始进军矿业、金融、房地产等。其中,晨鸣纸业在金融领域涉足最深,也成为资金危机爆发的一根引线。
据南方周末报道,从2014年-2018年,晨鸣纸业陆续成立六家融资租赁公司,其中有两家的注册资本金超过50亿。2014年,晨鸣纸业向融资租赁注资超过40亿。2016年,晨鸣纸业拟使用募集资金33亿元对晨鸣租赁增资。
融资租赁类似抵押贷款模式,晨鸣纸业经由融资租赁,向中小造纸厂、包装企业提供设备租赁服务。在行业景气时,这种模式相当赚钱。
2015年和2016年,晨鸣纸业的净利润中,约一半来自融资租赁。2017年,晨鸣纸业净利润达到37.69亿,一举冲上顶峰。
但晨鸣纸业的融资租赁业务投向,除了造纸行业,还包括城市基础设施、房地产开发、钢铁等。造纸、地产等近年来都受到冲击,2019年,晨鸣纸业的融资租赁坏账损失大增至5.24亿。

即使2019年晨鸣纸业就提出聚焦主业,开始剥离融资租赁业务,但这一块的坏账持续上升。
在预告至少65亿的年度亏损后,晨鸣纸业也表示,其中一部分就是因为融资租赁坏账准备计提比例加大。
多年来,晨鸣纸业资产负债率都高于70%,货币资金未能覆盖当期短期借款金额,两者差额超百亿。
由此可知,其资金危机其实早有预兆。
会破产重整吗?
在晨鸣纸业去年宣告暴雷前几天,时任董事长陈洪国与妻子李雪芹一同从公司辞职。
陈洪国1987年就进入晨鸣纸业,当年,其父亲陈永兴以寿光台头镇副镇长身份,被县政府要求接下亏损严重的寿光造纸厂。
据南方周末,晨鸣纸业员工称,“当年寿光造纸厂亏损非常严重,我记得欠了两千多万元。陈永兴临危受命,当时改革开放还没几年,他就开始市场化合作,鼓励大家自己背着纸去跑业务,将一个濒临破产的小厂一步步扭亏为盈。”
也因此,陈洪国之外,李雪芹及其弟弟都在晨鸣纸业任职多年。

但37年后,临危受命的,变成曾在晨鸣纸业工作10多年的王东兴。
王东兴在晨鸣纸业从车间主任做到副总经理,2000年离开后创立阳光纸业,2007年在港股上市。外界将王东兴的回归,视为晨鸣纸业化解危机的希望。
目前情况下,晨鸣纸业急需引进战略投资者。
而王东兴的阳光纸业,成为一些投资者猜测中的引战对象。阳光纸业业绩稳健,持续盈利,不过2023年营收为约83亿,净利润约3.9亿。以目前这个规模,阳光纸业未必有能力伸出援手。
不过,晨鸣纸业也还有别的期待。
晨鸣纸业的子公司湛江晨鸣浆纸有限公司,先后引入国开发展基金有限公司、北京川发投资管理有限公司、交银金融资产投资有限公司、厦门国贸产业发展股权投资基金合伙企业(有限合伙)、山东省财欣投资有限公司等资本,基本都是国资或者银行背景。
晨鸣纸业目前尚未到资不抵债的地步,而且手上还有一些物业资产和金融资产等可供处置,包括浦江国际金融广场、南粤银行股权等。如果顺利,有望回笼一些资金。
自2022年底开始,晨鸣纸业也一直在出售资产自救,包括转让土地及厂房、出售金信期货股权、剥离海鸣矿业等。
晨鸣纸业急需资金解决眼前的危机,恢复产能,才能保住股票不退市。
晨鸣纸业B股1月份就已跌破1元,正在持续下跌;而截至2月26日,A股股价为2.02元,如果不能尽早打开跌停板,也将很快低于1元。目前看来,晨鸣纸业面值退市的风险正在增加。
如果不能及时引入战投,外界普遍认为,晨鸣纸业可能会走破产重整的道路,这样一来,也有利于解决债务危机,重新上路的希望也增加了。
只是现在一切未有定数,晨鸣纸业的“雷”,可能还会时不时爆一个。
313啦实用网






