炒股就看金麒麟分析师研报,权威,专业,及时,全面,助您挖掘潜力主题机会!
来源:券业行家
一则疑似投资者“声讨”华福证券的帖子,在小红书刷屏。作为不明真相的群众,并不能“赛博断案”。然而,通过公开信息,行家对这家老牌券商的财富管理条线,有了新的认识。
声讨暴雷
2月27日晚间,小红书出现了一则题为《华福证券毁我家庭,XY银行联手做局》的帖子。发帖者的账号和昵称都颇有内涵。

帖子透露,其购买的产品承诺年化5.5%利息,每月付息。原定于2024年4月份到期清算,目前已过期一年还没清算完成。管理人映雪处于失联状态,合同条款写明”净值低于0.985要强制开放赎回”,结果开放日让券商领导悄悄赎回抢跑,其他客户一概不知。代销机构HF,当初从福建引进该产品,存在明显利益输送。特殊赎回日不通知客户,却让领导亲属账户赎回,提前抢跑。尤其该券商换了董事长后,派系斗争加剧,原来的福建派害怕背锅一直不处理,逃避责任。托管机构XY银行更是一直以各种理由不接电话,拖延清算进度,严重不作为。
这则最后编辑于昨日21时许的帖子,目前已有多页留言互动,大多表达了对发帖者的同情。
考虑到小红书的帖子毕竟是一面之词,行家希望了解更多情况。
百亿余晖
帖子中提到的“映雪”二字,行家颇有印象。
中基协备案信息显示,上海映雪投资管理中心(有限合伙)(简称:映雪投资)成立于2012年4月,在2014年4月成为首批备案私募。现有持证人员19名,在管产品99只,规模超过百亿。
回想2019年,映雪投资曾位列《中国基金报》评选的中国私募基金综合实力50强。并在“私募排排网”2019年的评选中,获得近五年股票策略收益十强(规模50亿元以上)。
然而,最早在2020年4月,已有官媒报道了映雪投资旗下“映雪专项1期”踩雷西王集团等违约债券。其后的媒体报道提及,因新华联、西王集团、泰禾等多款违约债券,引发“多米诺骨牌效应”。
投资者的损失,带来了舆情事件和监管关注。近年来,证监会和中基协对映雪投资及多家关联私募予以处罚。
2022年9月,上海证监局点名映雪投资“玩忽职守,不按照规定履行职责;未按照基金合同约定如实向投资者披露基金投资、基金净值等可能影响投资者合法权益的重大信息,未及时披露定期报告”。2023年11月,上海证监局进一步指出,映雪投资玩忽职守,在投前决策、投后管理等环节未按照规定履行职责;未如实向投资者提供基金产品投资标的相关风险情况等可能影响投资者合法权益的重大信息。
而在2023年9月,中基协已做出自律处罚:取消映雪投资会员资格、公开谴责、暂停受理私募基金产品备案六个月。处罚决定中列示的违规事实,包括未尽审慎勤勉义务、违反合同约定的投资限制进行投资、未向投资者披露可能影响其权益的重大事项、未按要求配合自律管理、变相向投资者承诺保本保收益等。同时,映雪投资实控人郑宇被撤销从业资格,成为“无证”高管。
据企查查不完全统计,单是映雪投资就有87项司法诉讼,被执行标的6.76亿元,并且已经“失信”“限高”。
这不难理解,蒙受损失的投资者,向代销机构和托管机构声讨追责。站在投资者适当性的角度来说,如果能够证明代销过程存在瑕疵,投资者的索赔通常能够获得法律支持。
不过,无论是备案信息,还是公开报道,只是提到托管机构,却对代销机构并没有过多涉及。
那么,本次华福证券为何会“集火”,是否有什么内情?
老牌券商
说起华福证券,行家耳熟能详。
这家成立于1988年,总部位于福建的老牌券商,从业人员数量一度达到行业TOP20。
就在年前,行家还曾点评过华福证券的大幅增资,并收获了一波券商同行点赞。
作为发债机构,华福证券的业绩数据定期对外公开:2019年到2023年,营业收入分别为27.84亿元、39.30亿元、52.92亿元、34.76亿元、22.21亿元;归母净利润分别为4.38亿元、0.21亿元、19.18亿元、11.02亿元和4.36亿:从连续上升到连续腰斩,诠释了“过山车”。
好在,2024年上半年,华福证券营业收入和净利润小幅回升,但尚未恢复到2020年光景。
作为主营业务条线,经纪业务净收入在2019年到2023年分别为5.55亿元、9.00亿元、10.08亿元、8.17亿元和6.69亿元;对总营收的贡献几乎都在两成左右;尤其是2023年,因基数较低,占比超过三成。
值得注意的是,华福证券“代销金融产品收入”项有着更大的波动。行家通过肉眼识别,查看了字迹模糊的财务报告及附注:2019年为0.24亿元;2020年激增366%,达1.12亿元;2021年进一步增至1.23亿元;而在2022年和2023年大幅下挫,分别为0.91亿元和0.49亿元。2024年上半年为0.27亿元,同比明显回升。
这一项指标的大起大落,是否意味着华福证券可能在一段时间里采取了过于激进的展业方式?并带来了后续的影响?
分管高管
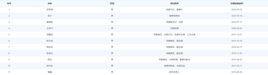
高管列表显示,华福证券为”一正三副两助“格局。

董事长苏军良在2023年3月履职;总裁黄德良任职始于2014年7月。副总裁陈文奇、蒋松荣、张贵云,总裁助理兼董秘杨松,在华福证券担任高管至少已有十年。
资历相对较浅的总裁助理王俊兴,履历显示,他加入华福证券也历经二十余年,并且曾有在多家基层网点任职的经历。他于2020年任首席信息官、科技发展委员会主任兼零售业务条线事业部总裁,出现在高管序列,2023年9月调任总裁助理。而在2023年8月,原德邦证券首席技术官兼科技中心、信息技术部总经理李宁加盟华福证券,同年10月接任首席信息官。
行家注意到,王俊兴多次代表华福证券参加外部活动,就财富管理发布观点。
2023年12月,财联社对话华福证券总裁助理王俊兴的专访报道中提及:华福证券将坚持“以客户为中心”的买方投顾路线,通过有效业务规模、多元业务价值单元和丰富的数智化能力三者的有机结合,形成乘数效应,实现财富管理业务的突围破圈。
2024年3月,华福证券与财联社、猫头鹰基金研究院携手举办了首期“财福100”季度投资沙龙。王俊兴在开场致词中表示公司将通过季度投资沙龙、同业联盟等活动,为合作券商提供有价值的投研信息,挖掘有潜力的基金经理,交流有时效的行业动态,构建同业交流平台,不断扩大同业朋友圈,打造有影响力的财富管理品牌。
而在后续的“财福人生·百城行”系列活动中,王俊兴多地“打卡”,巡回“发声”,探讨财富管理发展趋势。
在对外发声的同时,华福证券的高管团队,是否会慎重考虑舆情信息,以维护投资者利益?
313啦实用网





