炒股就看金麒麟分析师研报,权威,专业,及时,全面,助您挖掘潜力主题机会!
【导读】杠杆!激进?揭底350亿“国城系”
中国基金报 记者 赵新亮
长袖善舞的“国城系”正面临关键一跃。
2024年12月18日,“国城系”旗下核心上市平台国城矿业(维权)披露重组预案,拟购买国城实业不低于60%股权。
国城实业旗下的大苏计钼矿等资源,使得此次交易对“国城系”颇为重要,不仅集团资产得以证券化,国城矿业也有望提升市值,化解控股股东高质押率问题。
然而,半年多时间过去了,国城矿业重组依然停留在“预案”阶段。

作为A股近年来异军突起的一支“资本系”,“国城系”及其当家人吴城在短短数年间积累起巨额财富——国城矿业与众和股份合计市值超过300亿元,筹划装入国城矿业的国城实业估值超过50亿元。即便不考虑其他资产,“国城系”旗下资产已超过350亿元。
“这是一家激进的公司,胆子大。”一位接近“国城系”的知情人士告诉记者。
记者调查发现,“国城系”发家过程中,擅长运用杠杆资金,发家初期与兰州银行等往来甚密。
杠杆扩张的另一面是资金紧张。“国城系”对国城矿业的持股悉数质押,而收购国城实业也因此成为化解风险的“关键一招”。一旦市场预期落空,国城矿业股价或再度承压,超高的质押率恐引发连锁反应。
高杠杆入局A股
在A股初露锋芒,“国城系”就展现出高超的“财技”。
时间回拨到2017年,国城矿业(彼时名为建新矿业)控股股东建新集团向法院申请破产重整。2017年12月,建新集团重组方案出炉。国城控股注资50亿元,入主建新集团,从而间接获得建新矿业40.99%的股份。

同时,国城控股以9.77元/股的价格,向除建新集团以外的其他股东发起全面要约收购,以此购得建新矿业32.99%股权。
数十亿元收购资金,仅有少部分是吴城自有。
2018年2月披露的要约收购报告书显示,吴城对国城控股实缴的20.725亿元中,有15亿元为浙商产融提供的借款。除此之外,赵俊、浙商产融及拉萨迪德共同向国城控股实缴了剩余的19.675亿元。
除此之外,浙商产融、宝信投资、耀莱投资、银帝集团还约定合计提供不超过46亿元资金支持。

与彼时的吴城“低调”不同,愿意提供资金支持的4家资方均颇有实力。例如,银帝集团曾涉足地产、投资等多领域,吴城曾在该集团担任首席战略官。耀莱投资属于耀莱集团,后者掌舵人綦建虹身价一度超过百亿元。

资金从何而来?
依靠外部力量入主国城矿业,是当时市场对吴城的主要印象。可如今回看,吴城对杠杆的使用力度或比预想的还要大。
在退市至三板的贵天成3披露的涉诉信息中,2017年5月27日,兰州银行向杭州木东、杭州荷修、杭州都昂分别发放了6亿元、2亿元、3亿元贷款。从公告来看,三笔贷款有着完全一致的担保方。而从工商登记信息来看,三家杭州公司均属于注册资本低、几无业务开展的“壳公司”。
记者获得的一份兰州银行的借款合同显示,兰州银行向杭州木东发放的6亿元贷款,用途一栏明确写着“用于建新集团重组”。

如果上述资金确与彼时的建新集团重组有关,是哪家机构使用了该资金?
故事在这里还没有结束。
2020年12月,三维汇成从兰州银行受让了这三笔不良债权,并向相关方进行催收。也就在同年,兰州银行向克州亚星发放13亿元贷款。

有意思的是,2020年9月,克州亚星股权发生变更,上海石沣获得其51%的股权,上海石沣的实控人柴金雨正是前文提到的杭州荷修的大股东。
2023年2月起,柴金雨在杭州舞蔻担任监事。而早在2016年,鲍根青就现身在杭州舞蔻的工商登记资料中,鲍根青也曾在国城集团担任高管。

昔日证券化未果,如今估值涨数倍
2024年末,国城矿业启动收购国城实业。而在“国城系”刚入主不久,其已推动收购后者,只是因为种种原因未能成功。
2020年,国城矿业启动收购国城控股、五矿信托持有的国城实业100%股权的交易,这一交易涉及资金高达21.45亿元。
值得一提的是,国城实业更名前为中西矿业,是国城控股、五矿信托在2019年通过重整获得的,二者付出的偿债资金为10.418亿元,并承诺提供7亿元建设资金。
虽然仅时隔1年,国城实业增值约4亿元,但该交易未能成行。
“囿于银行相关风控要求,国城实业的经营性资产抵押和连带责任保证担保等资产受限情形无法在上市公司股东大会通知发出前解除。”国城矿业直言。

如今,国城矿业再度启动收购国城实业股权,以此提振公司的诉求非常明显。
几年过去了,国城实业的估值也水涨船高。根据公告,国城实业100%股权预估值约55亿元。
显然,这一价格较国城控股收购国城实业时的价格,已经涨出数倍。
“暗度陈仓”布另一棋局
“国城系”的野望远不止国城矿业。
2024年5月15日,退市至三板的众和股份(众和3)公告称,经执行法院裁定,福建国城绿能投资有限公司(以下简称国城绿能)为公司重整投资人。

交易后,国城绿能持有众和股份44.77%股份,成为众和股份第一大股东,吴城成为众和股份实控人。
根据此前公告,国城控股有意促进众和股份独立申请重新上市或由其他上市公司吸收合并换股上市,维护债权人和中小股东的利益。

在“国城系”入主之前,众和股份与国城矿业已有交集。
2013年,众和股份买下了马尔康金鑫矿业有限公司(以下简称金鑫矿业)股权,后者拥有阿坝州马尔康党坝乡锂辉石矿的采矿权及外围探矿权。
2022年2月,“国城系”旗下国城常青获得了金鑫矿业48%股权。
时隔一年,2023年,国城矿业通过全资子公司国城合融、国城嘉华,从控股股东国城控股手中收购国城常青100%份额,后者间接持有金鑫矿业48%股权。
党坝锂矿是国内少有的高品质大型锂矿资源。根据当地媒体报道,该矿累计查明氧化锂资源量112.07万吨,成为四川首个氧化锂资源量超百万吨的花岗伟晶岩型锂矿床,也是迄今亚洲探明资源量最大的花岗伟晶岩型锂矿床。

目前,金鑫矿业48%股权属于国城矿业,50%股权由众和股份掌控,剩余2%由国城控股和吴城间接持有。

如此一来,问题来了。
为何国城矿业不直接购买金鑫矿业48%股权?“国城系”在已经拿下金鑫矿业约半数股权后,为何转而直接购买整个众和股份?同一资产分属于两家公司,“国城系”如何解决同业竞争问题?
内部腾挪资产,股权悉数质押
“国城系”入主后,国城矿业资本运作动作不断,其中不少交易的对手方是“国城系”自己。
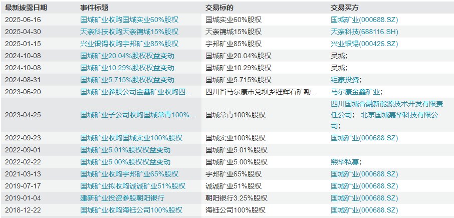
2018年,国城矿业完成收购海钰公司100%股权。2019年,国城矿业参股朝阳银行。2021年,国城矿业收购宇邦矿业65%股权。

可以预见,金鑫矿业将是“国城系”手中又一张底牌。
在熟悉矿业运作的投行人士看来,资产优质只是一方面,能否将其激活非常考验投资方的资金实力。
可这恰是“国城系”令人担忧的地方。入主国城矿业后,“国城系”很快将所持股份质押给金融机构,以换取贷款。
最新信息显示,建新集团和国城控股目前分别持有国城矿业41.41%和28.26%的股权,质押比例分别为99.97%和99.96%。
这意味着,“国城系”几乎把所持所有股份都进行了质押。数年前,大股东质押在市场中一度风靡,可一旦股价下跌,大股东质押率过高且无法补充其他质押物,很快会引发一系列连锁问题。
如今,“国城系”正在走向其“惊险一跃”,能否顺利跃过值得关注。
313啦实用网




