登录新浪财经APP 搜索【信披】查看更多考评等级

7月28日晚间,汇洲智能(维权)公告,近日收到浙江证监局下发的《关于对汇洲智能技术集团股份有限公司采取责令改正措施的决定》。

公告显示,汇洲智能董事陈友德因“有履行能力而拒不履行生效法律文书确定义务”被人民法院确认为失信被执行人,构成公司法第一百七十八条第一款第五项规定的不得担任公司董事、监事、高级管理人员所述情形,公司应尽快解除陈友德董事职务。
同日,汇洲智能公告收到陈友德提交的书面辞职报告。陈友德申请辞去公司第八届董事会董事职务,辞职后不在公司及其控股子公司担任任何职务。
陈友德个人涉及多项司法案件
汇洲智能2024年年报显示,陈友德于1982年7月出生,大专学历。履历方面,陈友德身兼数职:2015年6月至2018年4月期间,任徐州永恒建设科技有限公司经理;2018年4月至今,任徐州智德电力工程有限公司监事。2020年6月至今,任徐州承继恩网络科技有限公司执行董事、总经理;2020年7月至今,任北京承泽恩网络科技有限公司经理、执行董事;2021年3月至今,任四合聚力信息科技集团有限公司董事长;2022年8月至今任海南齐机科技有限公司董事长兼总经理。
企查查App显示,陈友德持股33.34%的四合聚力信息科技集团有限公司,正是汇洲智能的大股东,其持有汇洲智能12.17%股权。

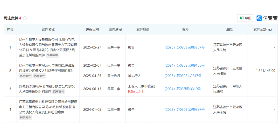
另据企查查App,陈友德个人在2024年至今共涉及4项司法案件,均与其损害公司债权人利益相关。其中,在“徐州中泰电气有限公司与陈友德,陈诚股东损害公司债权人利益责任纠纷”一案(案号:(2025)苏0303执2347号),陈友德被列为被执行人,执行标的约为164.11万元。

此外,在“陈诚,陈友德与甲公司股东损害公司债权人利益责任纠纷”一案(案号:(2024)苏03民终3310号),陈友德作为原审被告向江苏省徐州市中级人民法院提起上诉,该法院认为二审查明事实与一审查明一致,故驳回上诉,维持原判。
企查查App还显示了上述案件的关联司法案件。2023年1月,陈友德持股50%的徐州智德电力工程有限公司被列为被执行人,执行标的为61万元。2023年3月,该公司收到徐州市中级人民法院下发的限制消费令。

7月28日,汇洲智能公告称,公司及相关人员高度重视《行政监管措施决定书》所涉问题,已于第一时间与陈友德了解情况,并督促其尽快提交相关说明及离职文件等。针对该事项,公司也将进一步积极整改落实,尽快提交书面整改报告。本次行政监管措施不会影响公司正常的生产经营管理活动。
汇洲智能还表示,陈友德的辞职未导致公司董事会成员低于法定最低人数,因此不会影响董事会的正常运作。公司将尽快完成董事的补选工作,并履行相应的信息披露义务。
因涉嫌信披违法违规已被中国证监会立案
公开资料显示,在经历立案调查、债务重组等一系列危机后,2023年,曾经的ST天马脱帽成功并改名为汇洲智能。目前,公司主营业务为高端装备制造业务、大模型数据服务、创业投资与资产管理、传媒业务。
不过,汇洲智能似乎并未真正走出泥潭。公司于2024年再度亏损,今年4月底,公司又因为涉嫌信披违法违规被中国证监会立案。
具体来看,今年4月29日,公司收到浙江证监局下发的《行政监管措施决定书》和中国证监会下发的《立案告知书》。浙江证监局指出,公司及董事长兼总经理武剑飞、董事会秘书武宁、财务总监陈莹莹违反了《上市公司信息披露管理办法》的相关规定,决定对公司、武剑飞、武宁和陈莹莹分别采取出具警示函的监督管理措施,并记入证券期货市场诚信档案。同时,因公司涉嫌信息披露违法违规,中国证监会决定对公司立案。
浙江证监局的《行政监管措施决定书》显示,公司主要存在以下问题:一是虚增收入导致财务会计报告信息披露不准确;二是未披露对齐齐哈尔欣豪润成房地产开发有限公司借款合同重大进展情况。
在4月29日的公告中,公司表示,对于问题一“虚增收入导致财务会计报告信息披露不准确”,公司已对涉及的2019年度及2020年度合并财务报表以及受上述事项影响的2021至2023年度及2024年中期合并财务报表进行了更正,并于今年4月25日披露了《关于会计差错更正的公告》及中兴财光华会计师事务所(特殊普通合伙)出具的《关于汇洲智能技术集团股份有限公司会计差错更正专项说明的鉴证报告》。
对于问题二“未披露对齐齐哈尔欣豪润成房地产开发有限公司借款合同重大进展情况”,公司及相关人员将加强对相关法律法规和规范性文件的学习,不断提高信息披露质量,更加注重信息披露细节,提高公司规范运作水平,进一步完善公司治理,促进公司健康、稳定、持续发展。
此外,今年5月30日,浙江证监局发布行政监管措施公告,公司副总经理王俊峰因配偶和母亲短线交易被出具警示函并记入诚信档案。
公司在此前的业绩说明会上表示,公司目前处于立案调查期间,尚未收到监管机构出具的相关文书。公司及相关责任人员高度重视《行政监管措施决定书》所涉问题,深刻反思公司在公司治理、财务核算、信息披露等方面存在的问题和不足,并积极按照相关法律法规要求认真总结、整改。公司目前生产经营正常。未来,公司持续深耕核心主业,通过技术迭代、工艺革新提升高端装备制造的智能化与精密化水平,同时加大研发投入,夯实大模型数据服务的技术壁垒与服务优势,进一步强化核心竞争力。
近日,汇洲智能披露的半年度业绩预告显示,预计今年上半年,公司实现营业收入5.4亿元至5.5亿元,同比增长约17%至20%;实现归母净利润1500万元至2200万元,同比下降61.55%至73.78%;实现扣非净利润1450万元至2100万元,同比下降59.63%至72.13%。
(文章来源:上海证券报)
313啦实用网





