近日,中国恒大集团、恒大集团有限公司等新增一则被执行人信息,执行标的11.9亿余元,执行法院为广西壮族自治区崇左市中级人民法院。
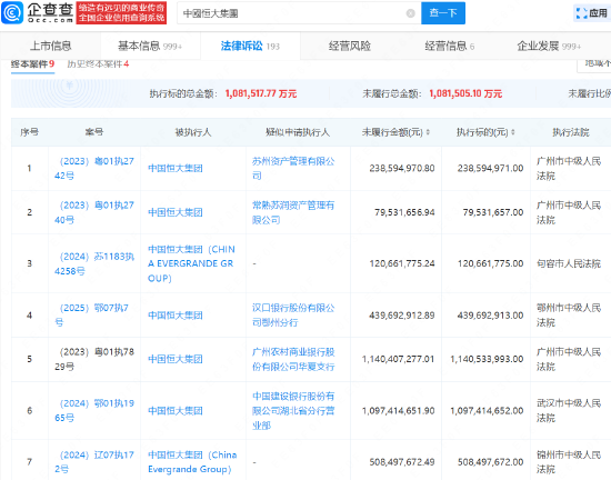
据企查查信息显示,中国恒大集团现存12条被执行人信息,被执行总金额超70亿元。8月18日,刚因追偿权纠纷案被执行约7.9亿元。此外,该公司还存在多条终本案件信息,未履行总金额超108亿元。


近日,中国恒大集团、恒大集团有限公司等新增一则被执行人信息,执行标的11.9亿余元,执行法院为广西壮族自治区崇左市中级人民法院。
据企查查信息显示,中国恒大集团现存12条被执行人信息,被执行总金额超70亿元。8月18日,刚因追偿权纠纷案被执行约7.9亿元。此外,该公司还存在多条终本案件信息,未履行总金额超108亿元。

