9月12日晚间,中国证券投资基金业协会公布了上半年基金销售机构公募基金销售保有规模数据,公募权益基金代销百强名单出炉。蚂蚁基金和招商银行两大代销巨头,上半年的权益基金保有规模均增加超过800亿元,增长规模远超其他代销机构。
上半年,百强代销机构的权益基金保有规模进一步增长,尤其是股票型指数基金成为代销机构发力的重点。
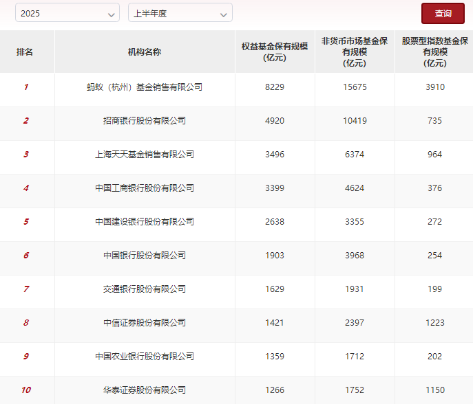
强者恒强,前十排名稳定
百强代销机构名单中,共有24家银行、57家券商、18家第三方代销机构和1家保险公司,较2024年底,银行和券商的数量均增加一家。
蚂蚁基金、招商银行、天天基金、工商银行、建设银行、中国银行、交通银行、中信证券、农业银行、华泰证券分列机构代销榜前十,与2024年底排名保持不变,“强者恒强”局面凸显。

图片来源:
中国证券投资基金业协会
招商银行、工商银行、建设银行、中国银行、交通银行、农业银行、兴业银行、平安银行、浦发银行、中信银行分列银行代销榜前十;中信证券、华泰证券、国泰海通、招商证券、广发证券、中信建投、银河证券、国信证券、平安证券、东方财富分列券商代销榜前十。
百强代销机构的合计保有规模提升
总体来看,在上半年亮眼行情的推动下,资金入市意愿强烈,百强代销机构的合计保有规模提升。
百强代销机构权益基金保有规模合计51374亿元,较2024年底增加2856亿元,增长5.89%;百强代销机构非货币市场基金保有规模合计101993亿元,较2024年底增长6626亿元,增长6.95%;百强代销机构股票型指数基金保有规模合计19522亿元,较2024年底增长2483亿元,增幅高达14.57%。
从具体机构来看,蚂蚁基金和招商银行两大代销巨头,上半年的权益基金保有规模均增加超过800亿元,增长规模远超其他代销机构;非货币市场基金保有规模分别增加1146亿元和915亿元,蚂蚁基金突破1.5万亿元,招商银行突破1万亿元。天天基金的非货币市场基金保有规模突破6000亿元,较2024年底增加620亿元,增幅也非常显著。
上半年,权益基金保有规模在1000亿元以上的机构增至11家;非货币市场基金保有规模在1000亿元以上的机构达到26家,较2024年底的22家增加4家。
代销机构发力指数基金
上半年,百强代销机构股票型指数基金保有规模增幅高达14.57%,显著超过其他类型基金。
券商在指数基金代销领域依然占据绝对优势,随着指数基金的大发展,券商在权益基金方面的优势越来越凸显,57家券商进入权益基金代销百强。券商股票型指数基金保有规模合计10804亿元,占百强代销机构总规模的55%以上,前十名中券商占据了7席,中信证券、华泰证券、国泰海通位居前列。
随着指数基金重要性提升,商业银行也开始发力指数基金代销。上半年商业银行的股票型指数基金保有规模合计2667亿元,较2024年底的1923亿元大幅增长38.69%。以农业银行为例,2024年下半年农业银行的股票型指数基金保有规模为75亿元,在百强代销机构中排在第42位,而2025年上半年农业银行的股票型指数基金保有规模为202亿元,在百强代销机构中排在第26位,排名上升16名。
值得注意的是,第三方代销机构中,蚂蚁基金上半年的权益基金保有规模增加841亿元,其中股票型指数基金保有规模就增加了709亿元,占据较大比重。
313啦实用网






