每经编辑|杜宇
近日,恒大汽车不断传来新消息。
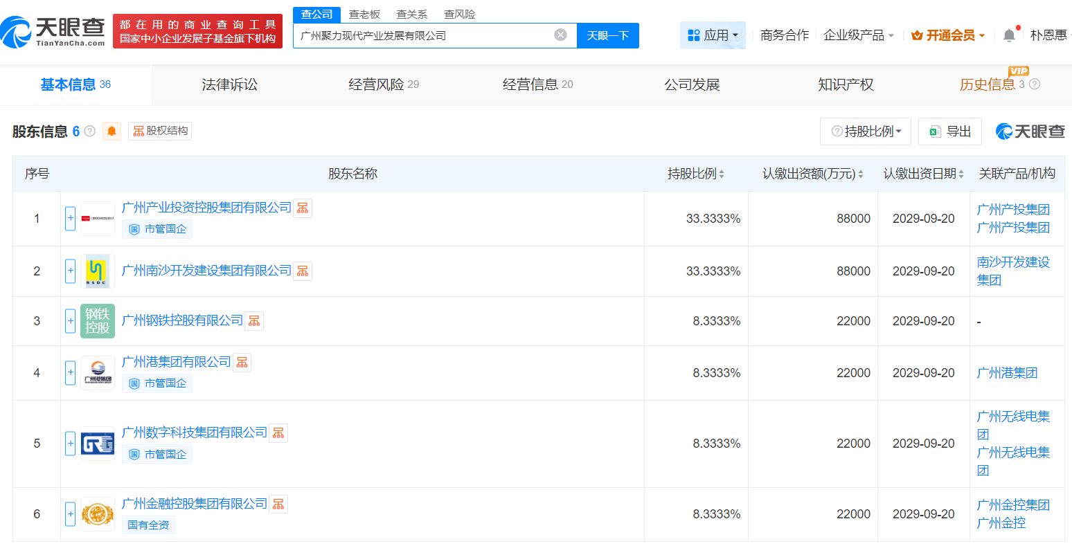
11月21日,据天眼查网站,恒大智能汽车(广东)有限公司、恒大新能源汽车(广东)有限公司近日发生工商变更,原股东恒大新能源汽车投资控股集团有限公司退出,新增广州聚力现代产业发展有限公司(以下简称“广州聚力”)为控股股东。
广州聚力对恒大汽车两家子公司的出资额分别为25亿元和50亿元,持股比例各为100%。这两家公司均是恒大汽车体系内的重要主体。


公开资料显示,广州聚力成立于2024年10月,是一家以租赁和商务服务业为主的企业。公司注册资本高达26.4亿元,由广州产业投资控股集团有限公司、广州南沙开发建设集团有限公司等六家国有企业共同持股。虽然成立时间较短,但背靠实力雄厚的股东,在产业投资与资源整合方面具有显著优势。


据媒体报道,此前恒大汽车受市场下行及经济环境等多种因素影响,公司资金链断裂陷入危机。该公司2023年财报显示,恒大汽车总负债高达725.43亿元,资产负债率飙升至208%。其2024年上半年实现营收3838万元,相比2023年同期的1.54亿元大幅减少75.17%,净亏损202.56亿元。
恒大汽车自成立以来旗下仅有恒驰5一款车型,且未能形成有效的市场竞争力。恒大新能源汽车(天津)有限公司是恒大汽车在天津的生产主体,该基地的生产自2024年1月起已全面暂停。
今年4月,恒大汽车在港交所发布公告称,间接全资附属公司恒大恒驰新能源汽车(上海)有限公司收到日期为2025年3月26日的决定书,上海市第三中级人民法院已指定一名管理人负责破产清算程序。由于公司自2025年2月3日的公告以来,未能确保可提供资金以补充本集团持续减少之可用资金的战略投资者/买家,因此无法确保其核数师及其他相关专业顾问开始现场及其他审计工作,故2024年度业绩公告将延迟刊发。恒大汽车也因此从4月1日停牌至今。
到7月时,广州市规划和自然资源局官网公示的一则《闲置土地认定书》显示,广州市规划和自然资源局南沙分局在前期向恒大恒驰新能源汽车科技(广东)有限公司核发《闲置土地调查通知书》,调查宗地已办理《不动产权证》,登记权属人恒大恒驰新能源汽车科技(广东)有限公司,登记面积437441平方米,土地用途为工业用地。根据《闲置土地处置办法》的规定及《国有土地使用权出让合同》相关约定,认定本宗地自2021年6月9日起为闲置地块,闲置原因为企业原因。
根据《闲置土地处置办法》(国土资源部令53号)第十四条规定,因企业原因未动工开发满两年的闲置土地,将由国土资源主管部门无偿收回国有建设用地使用权。广州市规划和自然资源局南沙分局将根据上述规定收回该宗地块。
9月,恒大汽车在港交所公告称,集团的流动性挑战依然存在。由于集团与潜在战略投资者的讨论尚未实现,集团正继续出售非核心资产以支持运营活动并补充资金水平。同时,公司若干对本集团运营不造成重大影响的附属公司亦接获破产清算程序审查及拍卖资产以清偿判决债务的通知及付款要求。截至本公告日期,公司继续将有限的财政资源优先用于维持厂房的基本运营活动,股票继续停牌。
11月13日,恒大汽车发布公告,公司已收到来自天津市滨海新区人民法院的裁决,法院已受理债权人对恒大新能源汽车(天津)有限公司的破产及清算呈请。相关附属公司的注册股本为人民币41亿元,且为本集团于天津拥有智能出行产品生产设施的制造基地的注册拥有人,基地的生产已自2024年1月起暂停。今年4月1日,恒大汽车也发布公告,间接全资附属公司恒大恒驰新能源汽车(上海)有限公司收到日期为2025年3月26日的决定书,上海市第三中级人民法院已指定一名管理人负责破产清算程序。

图片来源:恒大汽车公告
公司表示,恒大汽车股票已于2025年4月1日上午九时正起暂停于香港联合交易所有限公司主板买卖,以待刊发其尚未刊发的财务业绩及达成复牌指引,并将继续暂停买卖,直至另行通知。在股票停牌前,恒大汽车因为一则传闻股价一度暴涨200%。传闻称,广汽集团华望(GH)项目将收购恒大汽车南沙工厂。但此消息被双方辟谣。
财务数据显示,2024年上半年恒大汽车营收同比下滑75%至3837万元,净亏损扩大至202.57亿元,毛利率更因产能停滞转为负值。
此次国资接盘后,恒大汽车要走出困境仍需大量资金投入和专业化运营,未来前景如何存在诸多不确定性。
每日经济新闻综合证券时报、界面新闻、天眼查
免责声明:本文内容与数据仅供参考,不构成投资建议,使用前请核实。据此操作,风险自担。
封面图片来源:每日经济新闻 刘国梅 摄
313啦实用网






